球閥作用
球閥是用帶有圓形通道的球體作啟閉件,球體隨閥桿轉動實現啟閉動作的閥門。球閥的啟閉件是一個有孔的球體,繞垂直于通道的軸線旋轉,從而達到啟閉通道的目的。球閥主要用于截斷或接通管道和設備介質,球閥也可用于流體的調節與控制,V型球閥能夠進行比較精確的流量調節與控制,而三通型球閥則用于分配介質和改變介質的流向。球閥流體阻力小,結構簡單,體積小,重量輕,緊密可靠,操作維修方便,不會引起閥門密封面的侵蝕,適用范圍廣。

球閥是用帶有圓形通道的球體作啟閉件,球體隨閥桿轉動實現啟閉動作的閥門。球閥的啟閉件是一個有孔的球體,繞垂直于通道的軸線旋轉,從而達到啟閉通道的目的。球閥主要用于截斷或接通管道和設備介質,球閥也可用于流體的調節與控制,V型球閥能夠進行比較精確的流量調節與控制,而三通型球閥則用于分配介質和改變介質的流向。球閥流體阻力小,結構簡單,體積小,重量輕,緊密可靠,操作維修方便,不會引起閥門密封面的侵蝕,適用范圍廣。

型號
Q641F-16-C氣動球閥
25P
40R
氣動球閥產品用處和特點
該球閥重要用于截斷或接通管路中的介質,亦可用用于流體的調節與把持,它與其它閥類相比,具有以下一些長處。
1、流體阻力小、球閥是所有閥類中流體阻力最小的一種,即使是縮徑球閥,其流體阻力也相當小。
2、止推軸承減小閥桿磨擦力矩,可使閥桿長期把持安穩機動。
3、閥座密封性能好,采用聚四氟乙烯等彈性材料制成的密封圈,結構易于密封,而且球閥的閥封才能隨著介質壓力的增高而增大。
4、閥桿密封可靠,由于閥桿只作彷轉動運而不做升降運動,閥桿的填料密封不易損壞,且密封才能隨著介質的壓力增高而增大。
5、由于聚四氟乙烯等材料具有良好的自潤滑性,與球體的磨擦喪失小,故球閥的應用壽命長。
6、下裝式閥桿和閥桿頭部凸階防止閥桿噴出,如火災造成閥桿密封損壞,凸階與閥體間還可形成金屬接觸,確保閥桿密封。
7、 防靜電功效:在球體、閥桿、閥體之間設置彈簧,能將開關過程產生的靜電導出。
履行機構
采用新型系列GT型氣動履行器,有雙作用式和單作用式(彈簧復位),齒輪齒條傳動,安全可靠;大口徑閥門采用系列AW型氣動履行器拔叉式傳動,結構公平,輸出扭矩大,有雙作用式和單作用式。
1、齒輪式雙活塞,輸出力矩大,體積小。
2、氣缸選用鋁金材料,重量輕、外形雅觀。
3、可在頂部、底部安裝手動把持機構。
4、齒條式連接可調節開啟角度、額定流量。
5、履行器可選帶電訊號反饋唆使及各類附件以實現主動化把持。
6、IS05211尺度連接為產品的安裝調換供給了方便。
7、兩端調的節螺釘可使尺度產品在0°和90°有±4°的可調范疇。確保與閥門的同步精度。
履行尺度
1、設計與制作:GB12237-89、API608、API 6D、JPI 7S-48、BS5351、DIN3357。
雙作用氣缸
2、法蘭尺寸:JB/T74~90(JB74~90)、GB9112~9131、HGJ44~76、SH3406、ANSI B16.5、JIS B2212~2214、NF E29-211、DIN2543。
3、結構長度:GB12221-89、ANSI B16.10、JIS B2002、NF E29-305、DIN3202。
4、檢驗主實驗:JB/T 9092、API 598。
性能規范
|
公稱通徑mm
|
DN15-DN300
|
|||||
|
材料代號
|
C
|
P
|
R
|
|||
|
重要零件 |
閥 體
|
WCB
|
ZG1Cr18Ni9Ti
|
ZG1Cr18Ni12Mo2Ti
|
||
|
球 體
|
2Cr13
|
1Cr18Ni9Ti
|
1Cr18Ni12MoTi
|
|||
|
閥 桿
|
2Cr13
|
1Cr18Ni9Ti
|
1Cr18Ni12MoTi
|
|||
|
密封圈
|
加強聚四氟乙烯 對位聚苯
|
|||||
|
填 料
|
聚四氟乙烯 柔性石墨
|
|||||
|
實用工況
|
實用介質
|
蒸汽、水、油品
|
硝酸類
|
醋酸類
|
||
|
實用溫度
|
-28℃ - 300℃
|
|||||
|
履行器
|
型 號
|
DA/SR系列、Gtd/GTE系列、QGSY系列等
|
||||
|
氣源壓力
|
0.4-0.7MPa
|
|||||
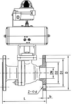
氣動球閥的外形尺寸和連接尺寸,請接洽我們索取。